Автомобили Mazda Автомобили Mitsubishi Автомобили Toyota Автомобили Chevrolet Автомобили AvtoVAZ Автомобили Kia Автомобили Nissan
Русский English
Български
Беларускі
Український
Српски
Hrvatski
Română
Polski
Slovenský
Magyar
| Статьи | Контакты | Карта | Поиск:  
BMWman.ru
 
 
 
 
 
 

3 серия   5 серия   7 серия   BMW X3   BMW X5   BMW X6

E39 (1995-2003) E34 (1988-1996) E28 (1981-1988) E12 (1972-1981)
  • Главная
  • БМВ 5 серия
  • E34
  • Силовой агрегат
  • Система смазки двигателя
  • Легкоходные масла

Легкоходные масла (BMW 5 Series E34)

            0

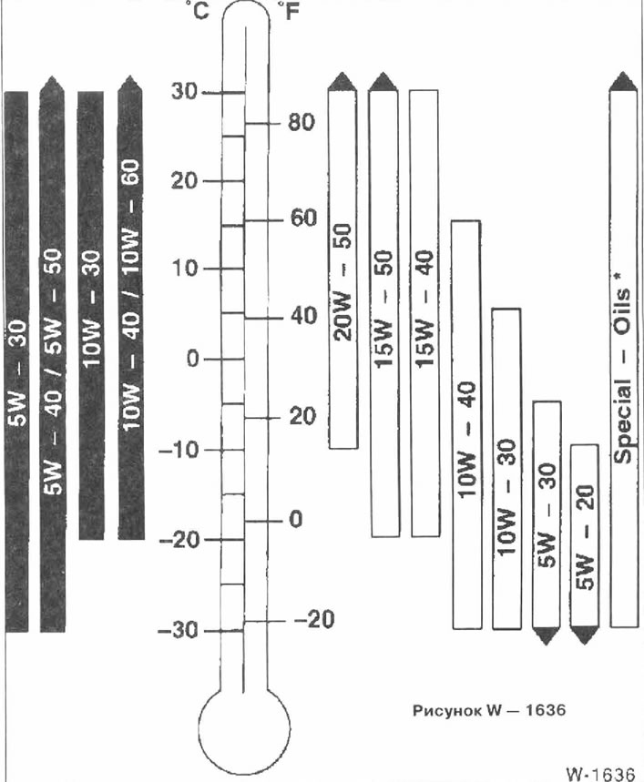
При легкоходных маслах речь идет о всесезонном масле с добавкой, снижающей внутреннее трение, что может давать экономию топлива до 2 процентов. Легкоходные масла имеют низкую вязкость (например, 10 W-30). В качестве базовых здесь используются необычные масла (синтетические масла). При покупке легкоходного масла следует обращать внимание на разрешение OPEL (написано на этикетке банки).


Эта статья доступна на английском, болгарском, белорусском, украинском, сербском, хорватском, румынском, польском, словацком, венгерском
Статья проверена: Поликарпов Савелий

Поделитесь информацией:
Предыдущие статьи
БМВ E34: Система смазки двигателя
Следующие статьи

Универсальное (всесезонное) масло
Вязкость моторного масла
Особенности бензиновых двигателей
Назначение моторного масла
Система смазки двигателя. Общие сведения
Диапазоны применения/классы вязкости
Спецификация моторных масел
Масла для двигателей BMW 5-й серии
Контур смазки
Расход масла


Похожие статьи других типов автомобилей БМВ:
Проверка уровня и замена масла в АКПП BMW 3 Series E21 (1975-1983)
Проверка давления масла BMW 3 Series E30 (1982-1994)
Масла для двигателей BMW 3-й серии BMW 3 Series E36 (1990-2000)
Профилактическое обслуживание при замене масла BMW 7 Series E32 (1986-1994)
Автомобильные химикалии, масла и смазки BMW 7 Series E38 (1994-2001)
Замена масла в АКПП BMW X5 E53 (1999-2006)
Ссылка в разных форматах на эту страницу
TextHTMLBB Code


Комментарии посетителей

Комментариев пока нет


Сколько будет 36 + 49 =

       





BMW E39 (1995-2003) 
  • Общая информация
  • Органы управления
  • Руководство по эксплуатации
  • Техническое обслуживание
  • Силовой агрегат
  • Ремонт двигателей
  • Система смазки
  • Система охлаждения
  • Система зажигания
  • Система питания
  • Система впрыска (бензин)
  • Система впрыска (дизель)
  • Выхлопная система
  • Трансмиссия
  • Сцепление
  • Коробка передач
  • Передний мост
  • Задний мост
  • Шасси
  • Рулевое управление
  • Тормозная система
  • Колеса и шины
  • Кузов
  • Интерьер
  • Экстерьер
  • Система отопления
  • Электрооборудование
  • Оборудование и приборы
  • Силовые устройства
  • Стеклоочистители
  • Электрические схемы
BMW E34 (1988-1996) 
  • Общая информация
  • Руководство по эксплуатации
  • Техническое обслуживание
  • Силовой агрегат
  • Ремонт двигателей
  • Система зажигания
  • Система смазки двигателя
  • Система охлаждения
  • Система питания (бензин)
  • Система питания (дизель)
  • Выхлопная система
  • Трансмиссия
  • Сцепление
  • Коробка передач
  • Шасси
  • Передняя и задняя подвеска
  • Рулевое управление
  • Тормозная система
  • Кузов
  • Экстерьер
  • Интерьер
  • Электрооборудование
  • Система отопления
  • Оборудование и приборы
  • Силовые устройства
  • Электрические схемы
BMW E28 (1981-1988) 
  • Общая информация
  • Руководство по эксплуатации
  • Техническое обслуживание
  • Силовой агрегат
  • Двигатель в автомобиле
  • Капремонт двигателя
  • Система охлаждения
  • Система питания
  • Система зажигания
  • Система управления
  • Трансмиссия
  • Сцепление
  • Механическая коробка передач
  • Автоматическая трансмиссия
  • Трансмиссионная линия
  • Шасси
  • Рулевое управление
  • Передняя подвеска
  • Задняя подвеска
  • Тормозная система
  • Кузов
  • Элементы кузова
  • Уход за автомобилем и окраска
  • Электрооборудование
  • Отопитель и кондиционер
  • Оборудование и приборы
  • Стартер и генератор
  • Электрические схемы
BMW E12 (1972-1981) 
  • Общая информация
  • Эксплуатация и техобслуживание
  • Технические характеристики
  • Силовой агрегат
  • Ремонт двигателей
  • Система охлаждения и смазки
  • Система питания
  • Система питания «Экотроник»
  • Система впрыска топлива
  • Система зажигания
  • Трансмиссия
  • Сцепление
  • Коробка передач BMW 242/4
  • Коробка передач Getrag 262/8
  • Коробка передач Getrag 265/6
  • Автоматическая коробка
  • Карданная передача
  • Задний мост
  • Шасси
  • Рулевое управление
  • Передняя подвеска
  • Задняя подвеска
  • Тормозная система
  • Электрооборудование
  • Оборудование и приборы
  • Электрические схемы
Анекдот про автомобили:
хочу ещё анекдот
BMWman.ru © 2017-2025 · Мобильная версия · Новости и статьи · Карта сайта: EN BG BY UA RS HR RO PL SK HU · Обратная связь · Поиск по сайту
3er E21 · 3er E30 · 3er E36 · 3er E46 [бензин] · 3er E46 · 5er E12 · 5er E28 · 5er E34 · 5er E39 · 7er E32 · 7er E38 · X5 E53 · Автомобильные новости · История моделей БМВ · Основы ремонта автомобилей · Техобслуживание двигателей «M» · Ремонт двигателей М50 · Ремонт двигателей М52 и М52TU · Ремонт двигателей М54/М56 и S54 · Ремонт двигателей S38 · Ремонт двигателей S50-S54